协同办公平台材料报送操作手册.docx
1.菜单入口
综合事务-材料报送,其下有三个菜单。如下图所示
通知发布/修改:可以新建、修改和删除发布的通知。
已交材料查询:查询已经上报的材料。
报送情况汇总:查看发送通知的报送情况。
数据权限:本人只能看到本人发布的通知和上报的材料。

2.操作介绍
2.1 通知发布/修改
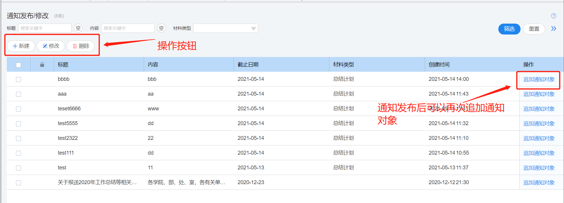
功能:新建、修改和删除通知。如下图所示
操作:
新建:可新建通知。
修改:修改已发的通知。
删除:删除已发的通知。

点击“新建”,弹出通知发布界面,如下图所示
根据标签提示录入相关信息,黄色背景框的为必填项,录入完毕后,点击“发送”即通知发布完毕,在上图“通知发布/修改”里列表中可以查看。
“上报材料是否需要领导审核”,选择“是”,则上报单位上报的材料需要上报单位领导审批,选择“否”,不需要上报单位领导审批。

点击“修改”,弹出通知发布修改界面,如下图所示
根据标签提示修改相关信息,录入完毕后,点击“发送”即通知发布修改成功,在上图“通知发布/修改”里列表中可以查看。

2.2 材料报送
功能:报送材料。
操作:
根据标签提示上报材料,黄色背景为必填项。
“审批类型”:必填项,根据需要自行选择需要走的流程。
先副职,后正职审批:即提交后先经部门副职领导审批,再经部门正职领导审批
单位正职审批:即提交后由部门正职领导审批
单位副职审批:即提交后由部门副职领导审批

2.3 已交材料查询
功能:查看本人已经上报的材料,如下图所示。
操作:
根据条件可进行精准筛选。
点击单条记录可查看报送详细内容。


2.4 报送情况汇总
功能:针对发布的通知,查看各单位报送情况。如下图所示
操作:
修改:对各单位上报内容可以进行修改。
点击单条记录,可以查看通知报送情况详情。



